文章内容

河南斥 6 亿购核酸亭,富了资本家,苦了百姓,结局是烂尾!

红色青年白依依 2022-06-09 来源:地火依燃公众号

Z府花了钱(实际上还是老百姓的钱),人民遭了罪,常态化检测效果还越来越差。疫.情三年了,大家都穷了!可有些资.本家们反而发家致富,赚个盆满钵满,走向人生巅峰了!

自从各地开始建立步行15分钟核酸采样圈,核酸检测亭这个东西就开始作为Z府部门紧急采购物资冒头了。

这一突发性的商机正如2020年初的口罩一样,让不少人嗅到了金钱的味道。

正如一位业内人士所说,“风口来了,就要争分夺秒,晚一天都会少捡许多钱。”

没错,在他们看来,这玩意儿就跟白捡钱似的。

市场规模又大,又是Z府主导的大批量采购,不会被坑,入局正好。

于是乎,从5月16日,河南省工信厅发布第一批采购公告,到5月18日完成评审,最终由注册成立仅11天的海乐苗(郑州)智能物联有限公司(5月7日成立),通过单一来源采购方式中标,单价4.68万元

图片

这个“单一来源采购方式”是个什么意思呢?

根据《河南省政府采购管理办法》,采用单一采购来源方式采购需满足以下四种情况之一:

一是只能从唯一供应商处采购;

二是发生了不可预见的紧急情况不能从其他供应商处采购;

三是必须保证原有采购项目配套的要求,需要从愿供应商添购;且添购金额不超过原合同的10%;

四是采购招标公告按规定在省级以上财政部门指定媒体上公告后,只有一家供应商实质性响应。

除了符合上述情形,流程上还需在发布采购公告前,提前发布“单一来源论证公示”,邀请专家论证该项目是否可以采用单一来源。

但在河南省政府采购网“单一来源公示”一栏,并未见核酸亭采购相关公告。

请问,一家刚刚成立的公司是怎么变成唯一供应商的?

全国那么多家医疗设备供应商,怎么判定发生了不可预见的紧急情况不能从其他供应商处采购的?

核酸亭这么一个来钱快的香饽饽怎么可能只有一家供应商参与招标?

第三点就更不用反驳了,一家刚成立的公司哪来什么历史业务往来呢?

明明不符合任何一种法律规定的情形,却还是采用了单一来源方式采购,那是不是可以侧面证明,这中间存在利益输送呢?

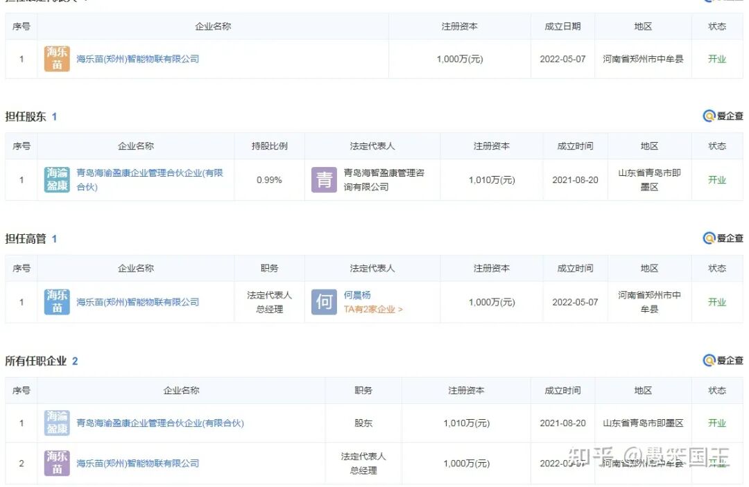
通过查股权穿刺,可以了解到是由青岛海尔生物投资成立了海乐苗(青岛)智能物联有限公司,这个青岛的公司又全资成立了海乐苗(郑州)智能物联有限公司,而且这个采集核酸的亭子还是海尔生物的。

图片

图片

请大家自行细品~

与全国其他地区相比,河南省两次成交价都偏高。

以浙江省下属辖区政府公布的核酸亭采购结果看,中标方不乏海康威视这样的大型企业,成交单价在1.99万-3.9万元。

成交最低价1.99万元的核酸亭,配置也并不低,具备双人操作工位、正压新风系统、空调系统、消杀系统、测温系统及音视频系统等。

单价高于4万元的采购,多为以医院、疾控为采购主体的少量采购,比如2021年3月河南省泌阳县疾控中心曾以9.96万元采购了1个核酸采样亭。但这是在核酸采样亭刚刚出现的时候。

核酸采样亭这东西虽然是用于医疗防护,但却不属于医疗设备;制造的门槛不高,又因为是新兴产业所以没有相关的标准,于是众多与之相关的加工厂、配件商以各种形式纷纷转产,分羹这一市场。

图片

根据《天下网商》报道,上海封城期间负责帮上海方舱造厕所的荣东制造,在签下8000台移动厕所的单子后,就锁定了核酸亭的前景。于是立刻转型,四月中旬就自主研发了核酸采样亭。

图片

图片

这样一家本来做厕所做保安亭的公司,通过十几天研发,就做起了核酸亭,我们不禁要问其卫生要求,防护要求,医学要求,达标吗?

江山欧派,一家造木门的企业,5月中旬听闻政府要搞核酸采样圈,果断跨界研发,极短时间就推出了这款“健康小屋”,一经推出,就马上加入各地政府的核酸亭招标中。

图片

本来因为疫.情原因,房地产,装修等生意一落千丈,木门生意更是惨淡,可如今江山欧派却因为核酸亭订单接到手软,工厂每晚加班加点,灯火通明。

还有许许多多和医护行业八竿子打不着的企业都纷纷入局。

图片

图片

▲来生产候车厅的企业

图片

图片

▲原来生产垃圾箱的企业

不得不说,这次疫.情,打造了很多家千亿营收的公司,涌现了一大批亿万富翁,上至疫.苗公司,下至社区团长,只要你能在疫.情期间找到一定的关系,打通一些神秘的供应链,就能爆赚,核酸亭只是它们创造的一个伪需求而已。

疫.情期间,全球99%的人群收入减少,1.6亿人陷入贫困。但是全球十大富豪财富在过去两年翻了一番,从7000亿美元跃升至1.5万亿美元,是全球最贫穷的31亿人拥有财富总和的6倍

图片

卡地亚、香奈儿等奢侈品牌不断涨价,LV更是直接将年收入300万以下的群体定义为无收入人群,超高净值客户人数和购买力反而不断提升。

这个世界就是这么魔幻,全球货币放水的背后,总是让穷人更穷、富人更富,这并不是一起全球经济的衰退潮,而是一轮资本的转移潮,个人如此,企业同样如此。有的企业在疫.情之下破产倒闭,有的企业却逆势爆赚。

核酸检测亭就属于爆赚产品。

河南省曾表示将在全省建1.4万多个核酸采样屋,而据某从事岗亭制造10余年的企业负责人说:核酸亭每台出厂价和中间商最后售价的差额可以到2万元左右。那么河南省1.4万个岗亭的“中间商差价”就已经高达2.8亿元

只想感慨一句:河南Z府真有钱。

图片

可关键是如此暴利的核酸检测亭还根本不便民,反而大大拉低了核酸检测的效率。

为了让大白们能任何恶劣环境中都轻松自如地完成核酸检测相关工作,搞了这个么亭子。

虽然他们不再被风吹雨打,日晒雨淋,但毫不符合人体工程学,又不人性化的亭子,让不少大白“委曲求全”在一个小盒子里面操作着跟自己身体不符的仪器,极大地增加了不便。

图片

图片

被检测的人也因为高度问题需要蹲马步,而且还不保证都能检测上。

图片

大白们工作时间往往在上午8点半到10点半,下午5点半到7点半。

原则上按照官方的口径,只要有人排队就要做检测,然而实际上比起全员检测的时候,现在很多人是排不上队,再加上宣传口径中的“不必全都检测”,于是大家干脆也就顺水推舟的开始“裸奔”了。

图片

▲北京朝阳区呼家楼一处核酸检测屋,医护人员直接在屋外进行检测。

Z府花了钱(实际上还是老百姓的钱),人民遭了罪,常态化检测效果还越来越差。

疫.情三年了,大家都穷了!可有些资.本家们反而发家致富,赚个盆满钵满,走向人生巅峰了!

最后,核酸检测亭大概率是会被弃用,一方面是太难用,一方面是疫.情总有一天会结束的吧,可那时资.本家们钱已经赚到手了,烂就烂在那儿,又有谁管呢?

图片

近期的河南是真不平静。

1、村镇银行无法取现,很多百姓的钱拿不出来,可事情已经两月未见任何解释。

2、农民卖青贮多挣钱,河南农业农村厅立马出来发文件,禁止农民卖,还要处罚农民。这和村镇银行暴雷形成天壤之别。

3、河南许昌农民卖了黄瓜,写检讨书录视频上传网上。

4、出租车司机用FM87.5向乘客要费用。

5、河南驻马店农民收割成熟的小麦,操作员需要提供核酸证明。

6、河南大学生拨打120急救电话,被接线员认为“感觉你没事啊”判了死刑。

……

负面新闻一波未平一波又起。

河南,还能好吗?

查看全部

「 支持乌有之乡!」

乌有之乡 WYZXWK.COM

您的打赏将用于网站日常运行与维护。
帮助我们办好网站,宣传红色文化!

注:本网站部分配图来自网络,侵删

扫描下方二维码,订阅乌有之乡网刊微信

官方微信订阅号

相关文章

《求是》(2025年24期):习近平:扩大内需是战略之举

习近平出席2025年中央经济工作会议并发表重要讲话

【纪念毛主席诞辰132周年专辑】继续革命:毛主席在革谁的命

好物推荐

最新推荐

《求是》(2025年24期):习近平:扩大内需是战略之举

习近平出席2025年中央经济工作会议并发表重要讲话

【纪念毛主席诞辰132周年专辑】继续革命:毛主席在革谁的命

两日热点

言明:一个不可不完成的历史任务

险恶用心

纪念张叔平(康生)同志逝世50周年,永远继承他继续革命的精神。