元宇宙资本化重构剩余价值生产方式的政治经济学分析
元宇宙资本化是平台资本垄断竞争逻辑的必然产物。元宇宙资本化从剩余价值的生产源泉、过程及支配主体几个方面重构了剩余价值生产方式。通过与元宇宙技术的结合,物理时空的劳动生产力获得极大提升。
元宇宙资本化重构剩余价值生产方式的政治经济学分析
吴迪曼
摘要:元宇宙是由人类脑力劳动与体力劳动所共同创造的,在一系列新的集合式数字技术和硬件技术同步涌现的支持下,以全息交互和虚拟现实体验为特征,人类实践活动深度介入的虚拟三维时空。元宇宙资本化即元宇宙时空中资本成为“普照的光”,资本的生产方式成为起决定作用的、占支配地位的生产方式。元宇宙资本化是平台资本垄断竞争逻辑的必然产物。通过革新剩余价值生产的源泉、过程及支配主体,元宇宙资本化实现了对剩余价值生产方式的系统性重构。元宇宙资本化重构剩余价值生产方式存在着多重弊端,具体表现为元宇宙时空与物理时空中劳动者的四重异化,劳动力群体的差异性效应与收入差距相对扩大,元宇宙资本的垄断融合及其对技术创新的阻碍等。对西方资本主义社会元宇宙发展模式的分析为我国的元宇宙发展带来了一定的启示。
关键词:元宇宙概念;元宇宙资本化;剩余价值生产方式;剩余劳动;垄断融合
一、元宇宙概念辨析与元宇宙资本化的生成逻辑
(一)元宇宙的概念辨析
新质生产力是代表新技术、创造新价值、适应新产业、重塑新动能的新型生产力,发展新质生产力是夯实全面建设社会主义现代化国家物质技术基础的重要举措[1]。作为“新质生产力生成和发展的主阵地”[2],元宇宙已成为我国战略布局的重点。据不完全统计,截至2023年3月28日,全国已有18个省级(含直辖市,下同)单位及24个市级单位发布了约114项明确支持元宇宙产业的政策[3]。近年来,随着5G、云计算、区块链、NFT等底层技术不断成熟,VR消费体验的真实化和以Chat GPT为代表的AI模型的涌现,元宇宙产业迎来了新一轮的蓬勃发展时期。对于元宇宙行业发展前景,彭博行业研究报告预计市场规模将在2024年达到8000亿美元[4]。从国际金融巨头到全球科技巨头,都大举进入元宇宙及相关领域以求抢占虚拟高地。目前五源资本、红杉资本、高瓴资本等一线投资机构都已经入局元宇宙赛道;谷歌、苹果、微软、阿里巴巴、字节跳动、百度、网易等科技巨头也纷纷展开元宇宙及相关产业布局。面向工业、商贸、媒体、游戏、社交、文旅等领域的元宇宙应用持续涌现,充分彰显了元宇宙开辟数字经济新场景、新应用、新生态,培育经济新动能的巨大能量。
随着元宇宙相关现象不断被国内外各界所关注,许多学者、研究机构以及公司从不同的研究视角给出了元宇宙的定义。部分研究者从元宇宙的时空表征出发,将元宇宙定义为“能够实时渲染的3D虚拟世界”[5](p43)“虚实融通的现实镜像世界”[6](p51)。一些学者从互联网演进的视角出发,将元宇宙定义为互联网发展的产物,即“3D版的互联网”“Web3.0”[7](p40)“互联网发展的终局”[8](p5)。以社会学视角来看,元宇宙是“基于二维世界的具有三维属性的新的社会形态”[9](p15)“具有去中心化的价值系统的新一代数字生活空间”[10](p32)“新型虚实相融的数智化应用和社会空间建构形态”[11](p36)。从数字传播学角度出发,元宇宙是“集成与融合现在和未来全部数字技术于一体的终极数字媒介”[12](p110)。而有的学者立足于数字经济的演变史,将元宇宙视为“以区块链技术为基础的一种新型数字经济的发展”[13](p84)“继平台经济时代后数字经济发展的新阶段”[14](p56)。有的学者则着重强调元宇宙的技术集合表征,将元宇宙定义为“能够构建虚拟时空的新型网络技术集合”[15](p62)“一种先进网络社会的技术载体”[16](p24)。
在马克思主义政治经济学看来,“整个所谓世界历史不外是人通过人的劳动而诞生的过程”[17](p196),劳动是人类社会和全部世界历史的永恒基础,技术的进步和广泛应用是推动人类实践能力、方式以及社会交往形式发展的强大驱动力。据此,本文将元宇宙的概念定义为:由人类脑力劳动与体力劳动所共同创造的,在一系列新的集合式数字技术和硬件技术同步涌现的支持下,以全息交互和虚拟现实体验为特征,人类实践活动深度介入的虚拟三维时空。元宇宙的产生给人类社会带来的影响不可估量,甚至将重新塑造社会的生产方式及生活方式。先进技术与设施的聚合是元宇宙的显著特征,具体而言,元宇宙的基础技术及对应的设施架构可分为以下三层:
1. 数字基础设施层。
即构建元宇宙所需要的底层技术堆栈及其所对应的设施,包括高宽带低延迟通信基础设施(如5G/6G、Wi-Fi6/7等),高算力基础设施(如云计算、边缘计算、分布式计算等),底层算法基础设施,去中心化存储基础设施(分布式存储),区块链基础设施(公链)及高覆盖物联网基础设施(包括感知和网络通信技术、嵌入式系统相关技术、标识和解析技术)等。
2. 基础通用技术及工具层。
即创建、运营、维护元宇宙所需的基础技术及工具集,包括沉浸式交互技术(如3D图形引擎、虚拟现实技术、增强现实技术、混合现实技术、脑机交互技术、传感技术、全息影像技术等),交互工具(指使人们接入元宇宙,获得元宇宙体验的一系列应用程序和设备,包括显示器、智能眼镜、可穿戴设备、嵌入式微型传感器、语音和姿势控制设备、脑机接口),人工智能(AI)技术,区块链技术(包括哈希算法、分布式账本)等。
3. 具体功能应用层。
即基于元宇宙的各项基础技术及工具,针对具体的应用环节(如生产)的业务场景展开的二次开发所形成的技术堆栈,包括数字孪生,数字原生,AI无人制造及数字工厂,数字化交付技术与工具,非同质化通证(Non-Fungible Token,NFT),数字人(如虚拟主播、虚拟偶像、个人虚拟形象)等。
(二)元宇宙资本化的生成逻辑
垄断资本主义阶段的典型特征,是金融垄断资本的产生与金融资本的积累逻辑。而在数字资本主义发展阶段,则对应为平台资本的诞生与平台资本的垄断竞争逻辑。
对于平台资本而言,对数字技术及对应的数字设施的排他性占有是决定数字平台获取超额剩余价值的关键所在。平台的经营组织形式具有显著的“分层式技术特征”[18](p39)。与之对应,庞大的平台组织系统也呈现出显著的分层性特征:位于底部层的是拥有数字底层技术及数字设施的平台组织,位于中间层的是持有各类型基础通用技术及工具的平台组织,位于上层的是提供具体功能应用的平台组织。显著的规模效应、范围经济、网络效应连同无限扩张的本能使得平台资本本身具有内在垄断倾向。“自由竞争产生生产集中,而生产集中发展到一定阶段就导致垄断。”[19](p588)经过早期的自由竞争阶段,平台系统的“每一层中的每一种经济类型,通常为少数几个平台组织所垄断”[20](p71)。由于平台技术本身所具有的层级依赖性,基础层数字平台运营者对位于上层的应用层数字平台的运营者具有较强的支配能力,因其控制了生产与交换所必需的数字化基础设施和数据的潜在生产力。非平台资本的部分增殖环节需要依靠平台资本,在此基础上形成了平台资本对非平台资本的支配。凭借对先进数字生产资料及数字技术的占有,平台源源不断地从非平台企业抽取类似地租的数据租金。凭借对上层平台的支配,位于中下层的平台又不断汲取来自上层技术平台的剩余价值转移。基于技术及其设施的独特性占有,平台资本(尤其是中下层的平台资本)攫取了巨量财富。
然而,垄断形成的条件在一定程度上也是垄断地位得以维系的条件,当垄断资本不再排他性地占有前沿技术时,其垄断地位便存在被颠覆的可能性。在数字经济时代,数字技术的发展遵循摩尔定律、吉尔德定律1,数字技术革新迅猛。平台经营模式的技术依赖性决定了平台资本的垄断地位并非绝对稳固,而是会持续不断地受到技术更新的挑战。因此,“基于数字控制的大型平台间竞争,不仅垄断现在的生产与再生产过程,更在于引领和控制未来的生产与再生产过程和创新方向”[20](p72)。各大平台资本在元宇宙各层展开了布局。微软、IBM、甲骨文、英伟达、AMD、亚马逊等大量活跃在数字底层技术及数字设施层,抢先搭建元宇宙数字基础平台。在基础通用技术及工具层,英伟达的Omniverse开发平台,Epic Games的Unreal、Unity,谷歌公司的Google AI、Open AI等,微软的Mesh、Open AR,以及Meta的Oculus占据了主导地位。在具体功能应用层,目前具有代表性的平台包括数字孪生技术服务平台51World、英伟达虚拟协作平台Omniverse、去中心化钱包Meta Mask、NFT交易平台Opensea等。
互联网平台发生“元宇宙转向”之后,元宇宙的技术及设施依然具有类似于平台的分层式结构。“元宇宙依然是平台权力的一种延伸。”[21](p53)平台资本宣扬元宇宙的“去中心化”属性,但“支持元宇宙系统自身运行的资本就是一个天然的中心化节点,因为系统任何的交易和数据都在其控制之下”[22](p106)。“元宇宙去中心化的自由性是数字平台资本独占性的一个侧面,也是元宇宙条件下的数字圈禁得以实现的深刻根源。”[22](p106)在控制了元宇宙技术及对应设施的基础上,各大互联网平台资本连同中小型的应用层资本,以一种更为彻底的形式控制着数据资源。元宇宙时空的用户与雇佣劳动者转化为资本的增殖要素。在元宇宙领域,资本的生产逐渐支配其他一切生产的地位和影响,因而资本的关系“也决定其他一切关系的地位和影响”[23](p31),资本的生产方式成为起决定作用的、占支配地位的生产方式,资本成为元宇宙时空中“普照的光”[23](p31),元宇宙资本化由此形成。数字资本主义时代平台资本的垄断竞争逻辑,是元宇宙生成机制的逻辑基底。
二、元宇宙资本化对剩余价值生产方式的重构
(一)剩余价值生产的源泉:元宇宙时空与物理时空中的剩余劳动
在传统大工业生产方式中,剩余价值生产的源泉是产业雇佣工人的剩余劳动,即超过补偿自身劳动力等价的劳动。当元宇宙资本化后,剩余价值则来源于物理时空与元宇宙时空的剩余劳动。在物理时空中,资本家通过延长雇佣工人的剩余劳动时间进行剩余价值生产。在元宇宙时空中,从事生产的,进而“成为总体工人的一个器官”[24](p582)的数字劳动同样能创造价值,超过数字劳动者劳动力价值等价物的部分同样构成了剩余价值的源泉。马克思指出,“在一昼夜24小时内都占有劳动,是资本主义生产的内在要求”[24](p297)。相较于物理时空,元宇宙时空中剩余劳动时间的延长更为彻底。首先,元宇宙打破了物理时空中的时空限制,将世界各地的劳动者、原先的自由职业者都纳入资本的雇佣关系中,从而更为彻底地扩大了进行剩余价值生产的劳动者范围。其次,元宇宙的“无准入限制”“实时性”“低延迟”特性使得工作时间具有了一种向外延伸性。雇佣劳动者随时都可以利用VR头盔等中介工具进入元宇宙进行劳动。由于不受时空和传统工厂制的限制,劳动逐渐产生了“去场所化”特征,劳动者无须集中于物理时空以进行协作,劳动形式变得更加灵活。通勤时间的节约延长了潜在的剩余劳动时间,项目制、弹性工作制的推行使得工作与闲暇之间的界限变得模糊,劳动者即使在闲暇时间往往也需要进行“间歇式”劳动。通过不断延长劳动者的绝对剩余劳动时间,资本获得了更多的剩余价值。最后,劳动力价值中包含着形成复杂劳动力所需的技能培训费用,而诸如VR一类的元宇宙技术能够普遍地降低培训成本。比如英国飞机发动机制造商劳斯莱斯公司就利用VR技术培训工程师如何组装飞机上使用的喷气式发动机关键零部件,借助VR头盔,工程师在虚拟时空内学习如何将特定零部件装入变速箱,之后就可以转到真实的装配实践中。这样可以有效避免培训过程当中的试错成本,节约劳动者的必要技能培训费用,进而使劳动力价值降低,变相地延长劳动者的剩余劳动时间,从而生产出更多的相对剩余价值。
需要指出的是,一些研究者认为元宇宙中的消费者(元宇宙玩家)是“零报酬劳动者”,其“娱乐即劳动”[25](p22),并进一步认为这些非物质劳动者生产了剩余价值。然而,从政治经济学视角来看,娱乐与消费行为不能被界定为劳动。首先,撇开具体的生产关系属性来分析,任何劳动首先是有目的的生产活动。在元宇宙时空进行娱乐或者消费,其目的并不在于生产。即使进行消费和娱乐的行为带来了数据或更多玩家,即使元宇宙资本利用这些衍生产品获取了更多的利润,也并不能说明消费者在元宇宙的娱乐活动是生产剩余价值的劳动,因为活动者本身的行为目的不在于生产,其娱乐或消费活动所产生的数据和流量只是消费的附加产物。结合具体的生产关系属性来看,“资本主义生产不仅是商品的生产,它实质上是剩余价值的生产”[24](p582),这要求劳动者“是为资本生产”[24](p582)。退一步来说,即使我们将消费者看作“产消者”,即其消费行为同时也是生产行为,这种“产消者”进行生产的目的也是在为自己生产,而非为资本生产出剩余价值。因此,元宇宙时空内的娱乐与消费活动并不是劳动,更谈不上是创造剩余价值的劳动。实际上,元宇宙资本能够通过衍生出的数据或者流量进行牟利,其本质在于以无偿或近乎无偿的方式占有了数据和其他衍生产品,从而使自身的商品所凝结的个别劳动时间下降至社会必要劳动时间以下,再据此获取超额剩余价值。剩余价值生产的源泉依然是元宇宙时空与物理时空中资本所吸纳的雇佣劳动者的剩余劳动。
(二)剩余价值生产的过程:元宇宙技术极大提升物理时空的劳动生产力
元宇宙资本化使剩余价值生产过程中物理时空的劳动生产力获得了极大提升,从而在短期内为优先采取技术升级的个别资本家带来了超额剩余价值。而当新的技术及其所对应的生产方式被普遍采用时,社会劳动生产力的提升将缩短再生产劳动力的必要劳动时间,从而相应地改变必要劳动时间与剩余劳动时间两个组成部分的量的比例,生产出相对剩余价值。
首先,元宇宙技术极大地提升了协作的广度与深度,继而提高了劳动生产力。因为,“单是社会接触就会引起竞争,从而提高每个人的个人工作效率”[26](p406)。而且,协作还会创造出一种“劳动的社会生产力或社会劳动的生产力”。受现实物理时空的限制,传统社会化大生产中分工协作的广度限于较为狭小的时空范围之内。尽管随着数字经济的发展,web2.0在线协作在一定程度上打破了时空限制,但隔着屏幕的协作依然无法达到与线下协作相媲美的效果。乔纳森·勒瓦夫(Jonathan Levav)和梅兰妮·布鲁克斯(Melanie Brucks)的一项研究发现,远程协作会阻碍创造性的发挥[27](p20-21),协作的深度依然有待提高。借助于VR、AR及XR技术,元宇宙能打破时空限制,实现沉浸式虚拟化协作,全球各地的劳动者能够通过虚拟数字人的身份在虚拟环境下身临其境地开展协同工作,参与社会的分工协作。此外,虚拟数字人的身份标识的非唯一性,可以让人们根据自身兴趣以不同的社会角色参与多组社会分工关系。由此,协作的广度与深度都有了质的飞跃。
其次,元宇宙技术能通过优化生产流程,缩短单位产品生产所需耗费的劳动时间,提升劳动生产力。数字孪生技术能将物理时空的工业设备、装置乃至整个工厂映射到数字时空,在元宇宙中建设与物理时空的建筑结构、设备结构、产线布置、生产流程相一致的孪生生产体系。在生产开始前,通过在孪生工厂中进行生产模拟,可以提前检验产能配置、生产流程的合理性;在生产过程中,通过对生产的全周期作业状态开展实时监测、实时交互,能够及时发现问题进行调整;当一轮生产过程结束后,由人工智能分析嵌入生产资料的物联网传感器搜集的海量数据,其分析成果也能帮助不断优化生产流程,减少物化劳动时间与活劳动时间的耗费,缩短生产单位产品所需的劳动时间。例如宝马与英伟达正开展虚拟工厂相关合作,拟引入英伟达元宇宙平台(Omniverse平台)协调31座工厂的生产活动,预计生产规划效率将提高30%[28](p81)。总之,元宇宙技术很大程度上“使较小量的劳动获得生产较大量使用价值的能力”[24](p366),显著提升了物理时空的劳动生产力。
(三)剩余价值生产的支配主体:元宇宙资本与产业资本的结合
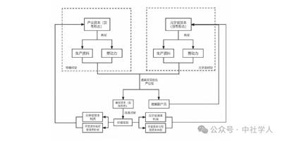
传统大工业生产范式下,在剩余价值生产过程中占支配地位的主体是产业资本。产业资本购买劳动力与生产资料并将其转化为生产资本,凭借对生产资料及自然时空的排他性占有而支配劳动力。劳动力与生产资料只能以生产资本的形式在产业资本的循环运动中结合,劳动分工与协作所产生的社会的劳动生产力属于“资本生产力”[23](p533),生产成果由产业资本占有。而当元宇宙资本化后,元宇宙资本与产业资本相互结合成为生产的新支配主体,两种资本结合的循环运动过程如图1所示。
元宇宙资本与产业资本相互结合的资本循环过程具有以下典型特征:
其一,作为两种资本结合而共同生产的副产物,数据副产品难以被产业资本有效吸收运用,而元宇宙技术及设施与其具有天然的配适度。因此,生产出来的数据副产品往往为元宇宙资本所使用。元宇宙资本能将数据副产品加入劳动资料,促使劳动资料迭代升级,例如用数据训练AI使其更加智能,而产业资本的劳动资料却不断消耗或磨损。在不断往复的循环周转中,元宇宙资本在生产过程中的支配地位逐渐提升。
其二,实体形态的商品资本经过价值实现后转化为货币形态,交换所得的货币额除了支付工资与补偿不变资本的耗费以外,还被划分为产业资本利润与元宇宙资本利润两大部分。利润的具体分配比例取决于产业资本与元宇宙资本在具体生产中所发挥作用的重要程度,同时也受到双方资本实力的影响。例如,如果其中一方更具有垄断优势,那么在其他条件相同的情况下,分配将向更有垄断优势的一方倾斜。
图1:元宇宙资本与产业资本结合的资本循环过程
其三,随着资本循环的不断往复,元宇宙资本与产业资本具有融合的趋势。首先,处于分配劣势的一方由于不满于较低的利润率,会产生与另一方融合的冲动。“概括来说,存在着这样一种趋势,即盈利较差的生产部门将盈利较多的生产部门并入自身之中。”[29](p217)其次,元宇宙资本需要参与产业资本的生产过程而创造出剩余价值,产业资本则需要元宇宙资本的技术应用以在竞争中获取相对优势,两者天然具有相互依赖的属性。再次,融合资本实力的增强提升了原先未融合的资本在竞争中的地位。最后,融合行为为资本提供了以下潜在的好处:一是提供了更为稳定的利润率,对冲了由于外界条件变动(例如成本价格波动、经济萧条的冲击)而产生的负面影响。二是资本的融合同时也意味着技术的深度融合,进而有可能加速技术进步。与单独的资本相比,融合资本可以获得更多的超额剩余价值。在这些因素的推动下,产业资本与元宇宙资本之间具有资本融合的趋势。
三、元宇宙资本化重构剩余价值生产方式的可能弊端
(一)元宇宙时空与物理时空中劳动者的四重异化
元宇宙资本大肆宣扬元宇宙时空中劳动的自由性。例如,元宇宙宣称用户在内容创作领域能以UGC的形式,通过一套低门槛工具将内容打造成自己的数字资产,并从中直接获取收益。但是,元宇宙资本的存在决定了其需要不断吸收剩余劳动以获得价值增殖。元宇宙资本化重构剩余价值生产方式的后果之一,是元宇宙的技术性质强化了资本吸收剩余劳动的彻底性,是元宇宙时空与物理时空的劳动都成为异化劳动的彻底性。异化劳动使得劳动不再属于工人自身,而是属于资本。异化的劳动过程生产出了工人同自身创造物的异化关系,用脑力劳动与体力劳动所生产出的产品不再是工人自我力量与自由意志的凝结,而是“作为一种异己的存在物,作为不依赖于生产者的力量,同劳动相对立”[17](p156)。并且,“工人生产的对象越多,他能够占有的对象就越少,而且越受自己的产品即资本的统治”[17](p157)。“自由的有意识的活动恰恰就是人的类特性”[17](p162),而元宇宙技术的运用使工人更为彻底地丧失了自己活动的主体性。生产过程中的元宇宙技术参与意味着工人以数字化的方式被精密地管理,VR头盔等虚拟交互设备记录了工人的全方位作业,工人在元宇宙空间当中的每一个动作行为都会被数据化并纳入数据抓取范畴。对数字孪生工厂生产过程的实时检测也意味着对工人劳动过程的实时监测,物联网传感器所搜集的数据反馈不断对工人提出更苛刻的要求,工人犹如身处“数字全景监狱”,资本对工人的生产过程控制达到了新高度,工人的生产完全沦为一种标准化的程序性操作。“异化劳动把自主活动、自由活动贬低为手段,也就把人的类生活变成维持人的肉体生存的手段”[17](p163)。进而,“人的类本质,无论是自然界,还是人的精神的类能力,都变成了对人来说是异己的本质,变成了维持他的个人生存的手段”[17](p163)。最后,人同自己的劳动产品、自己的生命活动、自己的类本质相异化的直接结果就是人同人相异化。劳动者不断在元宇宙时空与物理时空中生产出资本家对其生产过程与产品的支配关系。在周而复始的资本循环运动中,劳动者的异化程度日趋加深。
(二)劳动力群体的差异性效应与收入差距相对扩大
元宇宙与生产过程的结合,使得“资本对工人的更大的吸引力和更大的排斥力互相结合的规模也不断扩大”[24](p727)。元宇宙技术的发展与大规模应用,既催生出新的产业与就业岗位,又以“创造性毁灭”的方式对部分岗位形成冲击。一方面,元宇宙技术相关领域的投资新增了对劳动力的需求。与元宇宙相关且难以为技术所替代的劳动需求日益增多,这些劳动包括专业性分析、判断、推理等高阶思维劳动以及包含价值观和复杂情绪认知的非程序性复杂劳动,如元宇宙基础设施创新与维护,新交互设备研发生产、非程序性技术应用领域等。另一方面,由于劳动生产力提高,元宇宙的技术更新又对低技能劳动力群体更多表现为替代效应。元宇宙技术“挤出”了可被新技术及其设施替代的劳动力,新增了相对过剩人口,即“超过资本增殖的平均需要的,因而是过剩的或追加的工人人口”[24](p726)。
对于高技能劳动的需求一方面表现为对新增劳动力的需求,另一方面表现为对现有劳动延长工作时间的要求。与元宇宙资本增殖需求相匹配的高技能劳动力收入具有提高的趋势,而低技能劳动力由于在劳动力市场的供求关系中处于劣势,其收入具有收入下降的趋势。“对于相当一部分人来说,数字创新日益完善和有效,足以推动业务发展并确保持续创新和改进。同时,我们知道,对于相当一部分人来说,其结果将是有问题的排斥性、歧视性,敌对性、剥削性,甚至是危险性的。元空间已经被设定为一个高度分化的地方”[30]。需要注意的是,这种收入的分化是相对的。因为相对过剩人口具有再接受培训适应就业的潜能,因此,产业后备军的存在会对现役军形成一种压力。“产业后备军在停滞和中等繁荣时期加压力于现役劳动军,在生产过剩和亢进时期又抑制现役劳动军的要求。”[24](p736)相对过剩人口将劳动供求规律的作用范围限制在绝对符合资本的剥削欲和统治欲的界限之内,现役劳动军的收入水平依然受到来自相对过剩人口的限制。
(三)元宇宙资本的垄断融合及其对技术创新的阻碍
资本宣称,元空间是开放的、去中心化的,在元空间内没有任何一个实体可以控制个人的行为,资产、数据及权力将转移给公众,元宇宙远离企业的利益,并可能在其中实现一个以更民主的方式治理的世界。十多年来,许多互联网领导人(包括“万维网之父”蒂姆·伯纳斯·李)一直在努力寻找新的方法来再次分散在线活动,但是互联网的数十亿用户在网上所做的大部分事情都是在巨型公司控制下的中心化空间进行的。
元宇宙是各个数字科技巨头的前沿投资领域,拥有资金、数据生产力、前沿数字技术等多重优势的数字垄断企业想要在该领域占取先机,而初创企业与现有的中小企业则想趁此机会更上一步台阶。虽然试图入局元宇宙的企业众多,但元宇宙技术的高投资门槛筛除了大量的中小企业,激烈的竞争环境使得元宇宙资本自身又具有与产业资本及其他资本融合的趋势。而生产与资本的集中发展到一定程度又会产生垄断,元宇宙生态仍然会走向封闭,各大巨头最终会各自在不同层级上占据垄断地位,且“这种垄断还是同任何垄断一样,必然产生停滞和腐朽的趋向”[19](p660)。当元宇宙资本占据了垄断地位并从中获取剩余价值的转移时,资本以寄生性而非生产性的方式进行积累的趋向就增强了。因此,“技术进步因而也是其他一切进步的动因,前进的动因,就在一定程度上消失了”[19](p660)。
首先,竞争的相对缺乏削弱了垄断资本进行创造性研发的动机。根据阿罗创新激励模型,相较于竞争,垄断的创新激励效用更小。随着垄断资本的地位日渐巩固,其更倾向于利用垄断优势而非创新以获取高额利润[31](p136)。其次,凭借着对元宇宙技术及平台设施的掌控权,垄断资本能够制定排他性的准入标准,阻止一些潜在的竞争者进入市场。面对具有前瞻性创新能力的竞争者,垄断资本能够采取“扼杀式并购”行为以终止其创新项目。此类并购行为带来了更为广泛的“寒蝉效应”:即降低新进入企业的预期收益,导致风险投资对初创企业的发展预期降低及投资兴趣下降,最终削弱中小企业和初创性企业的技术创新动力[31](p136)。最后,当垄断资本从其上下游的中小企业获取剩余价值转移时,会增加中小企业的生产成本,进而压缩其自主创新的资金投入。由此,社会层面的技术创新遭到极大阻碍。
四、研究结论及对我国元宇宙发展的启示
元宇宙资本化是平台资本垄断竞争逻辑的必然产物。元宇宙资本化从剩余价值的生产源泉、过程及支配主体几个方面重构了剩余价值生产方式。通过与元宇宙技术的结合,物理时空的劳动生产力获得极大提升。同时,在新的剩余价值生产方式之下,劳动者的剩余时间遭到更为严重的剥夺,人的四重异化以更为彻底的形式表现出来。产业资本与元宇宙资本对剩余价值具有共同分割关系,这种关系发展到最后会衍生出资本融合的倾向。在竞争压力下,资本集中发展到一定程度又会产生垄断,继而加重资本主义“停滞与腐朽”的倾向。此外,元宇宙资本化对剩余价值生产方式的重构将对劳动者群体产生差异性效应,加剧西方资本主义社会收入两极分化的痼疾。
作为对人类生产生活方式造成不可估量影响的前沿领域,元宇宙成为各国争相战略布局的新高地。对于我国国内的元宇宙发展而言,应当看到,资本对于推动元宇宙的形成与建设具有技术提供、资金供给等积极推动作用。同时,资本具有无限扩张的属性,在积极利用资本建设发展元宇宙的同时,应当进行适当引导监督以实现趋利避害。具体而言,应遵循以下几项原则:
第一,在坚持“两个毫不动摇”的基础上推动元宇宙发展。一方面,要毫不动摇巩固和发展公有制经济,加强国有企业在元宇宙建设、发展中的作用。首先是加强元宇宙基础设施布局。这些基础设施具有公共品属性,对民间资本而言存在进入门槛。国有企业应承担起建设包括5G通信网络、高算力基础设施、高覆盖物联网在内的多项新型基础设施的任务。其次,关键核心技术是元宇宙最大的“命门”[32]。国有企业应积极参与元宇宙关键核心技术的研发,成为原创技术策源地,着重解决我国当前发展元宇宙技术的短板问题。在虚拟现实、人工智能、区块链等方面,突破一些“卡脖子”的技术难题,锻造一批长板技术,打破国外在计算和虚拟化等方面的技术垄断。另一方面,要毫不动摇鼓励、支持、引导非公有制经济发展。鼓励民间资本以参股等方式进入部分元宇宙基础设施领域,支持民营经济参与元宇宙的具体功能应用层建设,鼓励民营企业在无人制造与数字工厂、数字化交付技术与工具等领域进行投资,引导民营资本进入基础通用技术研发领域共同参与技术开发。总之,应充分发挥各类资本的生产力潜能,为我国元宇宙建设发挥积极作用。
第二,在坚持有效市场与有为政府有机结合的基础上推动元宇宙发展。有效市场发挥作用的前提是产权明晰、交易自由、司法公正,即合法交易受到法律保护。政府须致力于元宇宙领域产权的界定和保护,包括元宇宙领域内商标、版权、软件著作权的运营与保护。依据元宇宙的特性,充分利用沉浸式交互技术、数字孪生、人工智能技术等进一步推动知识产权创造、运用、保护、管理和服务,建立健全与非同质化代币有关的制度及法律法规。同时,政府应有所为有所不为:一方面要避免对元宇宙领域的过度干预与管制;另一方面要以元宇宙产业政策等方式积极推动元宇宙产业发展,推动元宇宙基础设施建设及更新迭代,弥补元宇宙市场失灵。作为平台资本演化的产物,元宇宙资本同平台资本一样,具有垄断的天然倾向,而一旦资本融合形成垄断,就会给技术创新、社会再生产、市场公平有序竞争带来消极影响。政府应在区分各类资本的特性与运动规律的基础上,与时俱进地制定与调整各项法律法规,积极支持和引导元宇宙资本规范健康发展,防止元宇宙资本“野蛮生长”,维护市场公平竞争,打造统一开放、竞争有序、制度完备、治理完善的有效市场。
第三,在坚持以按劳分配为主体、多种分配方式并存的基础上推动元宇宙发展。马克思指出,分配对生产具有反作用,“能使一切社会成员尽可能全面地发展、保持和施展自己能力的那种分配方式”[33](p544-545)才能最大程度地释放生产力潜能。应坚持以按劳分配为主体,“坚持多劳多得,着重保护劳动所得,增加劳动者特别是一线劳动者劳动报酬,提高劳动报酬在初次分配中的比重”[34](p18),保障元宇宙数字劳动者与实体劳动者的权益与劳动收入。同时,落实按要素分配,让各种生产要素所有者具有公平参与生产和分配的权利,按照其投入生产要素的数量和质量及对元宇宙生产经营的贡献大小进行分配,激励越来越多的生产要素投入元宇宙建设发展领域。需要指出的是,允许生产要素参与分配的依据在于生产要素是生产过程顺利进行的必要条件,对于生产过程有所贡献。但是按照马克思主义政治经济学的观点,活劳动才是创造价值的源泉。因此,在落实按要素参与分配的过程中,应着重调节要素所有者与劳动者之间的分配关系。例如,资本在取得利润的同时应保障劳动者获取足以补偿劳动力价值的合理收入,以股权激励制度等形式让劳动者参与利润的分配。
作者简介:吴迪曼(1996—),女,北京大学马克思主义学院博士研究生
基金资助:国家社科基金重点项目“中国特色社会主义市场经济制度问题研究”(20AZD012)
「 支持乌有之乡!」
您的打赏将用于网站日常运行与维护。 帮助我们办好网站,宣传红色文化!
注:本网站部分配图来自网络,侵删
扫描下方二维码,订阅乌有之乡网刊微信

